Array
Виберіть бажану мову сайту
UA
RU

Замовити дзвінок

Кабінет

0

Кошик

0
0
0
Архів Шафа для підігрівання посуду GAGGENAU WSP222132
  • Огляд товару
  • Характеристики

Фронтальна скляна поверхня з покриттям «Gaggenau Silver». 

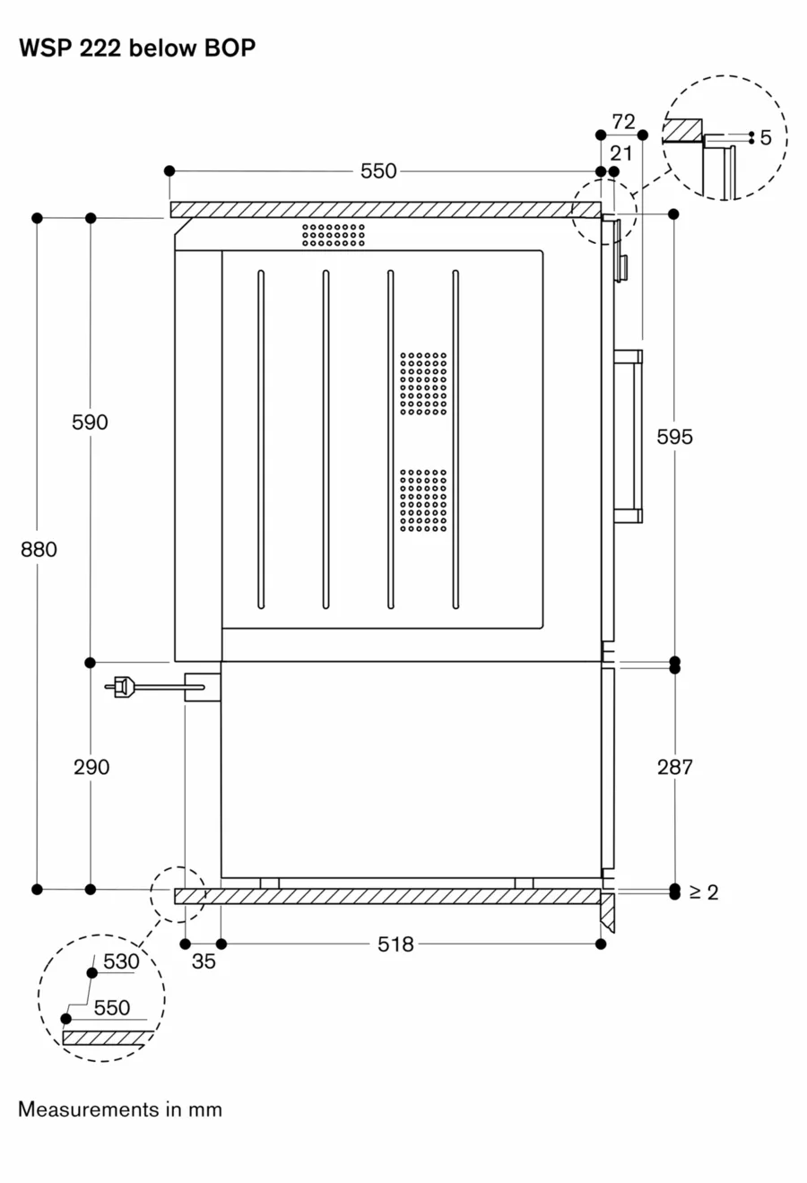
Ширина 60 см, висота 29 см. 

Будівельна врівен з меблевим фасадом. 

Шафа Visuvna без ручок. 

Система відкривання "Push-to-open".

+

-

Режими нагріву:

4 температурних режиму:

Розморожування харчових продуктів

Підігрів невеликого за місяць посуду для напоїв.

Підтриня страв у теплому стані/томління, доведення страв до губи.

Термостійкий обігрів.

+

-

Управління:

Управління за допомогою поворотного перемикача

+

-

Особливості:

Об`єм нетто: 54 л

Місткість: Столовий сервіз на 12 персон включно з пласкими та суповими тарілками ø 27 см, додаткові глибокі тарілки та серверу вальний посуд в залежності від розміру.

Завантаження: до 25 кг

Користний внутрішній об`єм: Шир. 468 x Виш. 242 x Довж.458 mm.

Нагрівальний елемент розташований під склом для зручності у догляді за пристроєм.

Вентилятор для рівномірного розподілу тепла для розігріву жаростійкого посуду.

Дісплей відображення температурного режиму на скляній фронтальній поверхня шафи.

Скляне дно шафи виконано з загартованого скла.

+

-

Особливості вбудовування:

Мінімальна бокова відстань між фронтальною поверхнею пристрою та меблевими панелями – 5 мм.

Поверхня дверцят пристрою виступає на 21 мм. за межі меблевої ніши.

Можливість розташування електричної розетки позаду приладу

+

-

Підключення:

Потужність підключення: 0,81 kW

Електрокабель зі штекером завдовжки1,5 m.

Xарактеристики
Серія
200
Колір
алюміній
Кількість видів нагріву
4 температурні режими
Країна виробництва
Словаччина

Ви дивилися

Шафа для підігрівання посуду GAGGENAU WS461102

107 590 грн

Пральна машина GAGGENAU WM260164

0 грн

-30%

Акція

Висувна шафа  для вакуумізаціїї GAGGENAU DV461100
Духова шафа-пароварка GAGGENAU BSP221101

173 940 грн

Висувна шафа для вакуумізаціїї GAGGENAU DV461110

192 050 грн

Каталог

Акції

Інформація

+38 (095) 090-95-95 +38 (095) 274-59-33

Замовити дзвінок

ПРО НАС АКЦІЇ БЛОГ ГАРАНТІЯ ТА СЕРВІС КОНТАКТИ ШОУРУМ ДЛЯ АРХІТЕКТОРІВ
Viber Viber info@my-gaggenau.com.ua
Замовити дзвінок